Product Details
+

F/38.CPP F/38.CPM F/38.CM - Curving slat conveyors

Curving slat conveyors

Technical Data

Electric connection: 220/380V 50Hz 3-Phase.
Electro-welded sheet iron structure.

Series F/38.CPP
  • Belt at fastened plaques in acetalic.
  • Sliding of the belt on Polizene.
  • Driving and tightener pinions in polyamide.

Series F/38.CPM
  • Steel belt at fastened plaques (max. width 190,5 mm.).
  • Sliding of the belt on Polizene.
  • Driving and tightener pinions in polyamide.

Series F/38.CM
  • Steel belt at fastened plaques (max. width 190,5 mm.).
  • Sliding of the belt on steel.
  • Fit to convey hot pieces (until 300°C).
  • Driving and tightener pinions in steel.
Category: Slat conveyors

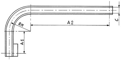
Legend:
Legend: C Width of the plaques - RM Middle ray - A1 Length of the flat distance (tightener side) - A2 Length of the flat distance (motor side)