Product Details
I/F 163 - Conveyors
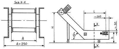
Inclined conveyors with metal plaquesTechnical Data
- Metal belt with hinged plates, thickness 3 mm, pitch 63,5 mm lateral haulage chain
- Steel dragging and tensioning device pinions with Ø 163 mm
- Lateral sides, height 45 mm
- Indicated for transport of forged pieces (max 300 °C)
- Standard speed: 9 m/min
- Fixed inclination 45°
- Lateral gear reducer, direct connection type I80 FP 1/80
- Motor of 0,75 Kw 220/380V 50Hz 3-PHASE
- Support base on wheels
On request
- Thermal overload magnetic short circuit and emergency button
- Added fixed lateral sides
Category: Conveyors for hot pieces
Legend:
A Usable width - L Length of the plane - h Height of the plane - H Unloaded height - P Listells pitch - B Listells height