Product Details
A-45/S - Conveyors
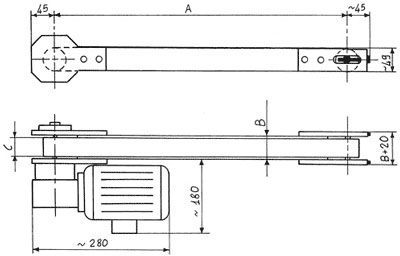
Aluminium conveyorsTechnical Data
- Aluminium structural shape frame 45x45.
- Geared motor placed sideways.
- Tensioning device placed on the front.
- Head rollers diametre 50 mm.
- Standard speed 7,5 m/min.
- Motor of 0,12 HP 380 V 50 Hz 3-Phase.
On request
- D.C. motor for adjustable speed (220 V 50 Hz Single-Phase).
- Speeds different from the standard ones.
- Motor of 0,12 HP 220 V 50 Hz Single-Phase.

